北京试管婴儿医保报销政策,哪些项目可以进行报销详解
- 试管婴儿百科
- 2024-11-23 09:28
目前,我国不孕不育患者的数量在不断的增长,不少患者都只能够通过试管婴儿技术来实现生育。由于试管婴儿的费用并不低,一次就需要上万元,而且一次成功的几率还是比较低的,大多数患者都需要进行多次移植,其费用也就随之升高,进而导致很多患者都受限于费用不敢尝试。现在在北京做试管婴儿的部分费用已经可以走医保进行报销了,在一定程度上减轻了患者的经济负担,具体哪些能报销一起来看看吧。
有过试管婴儿治疗经验的患者都知道,试管的费用是比较高的,一个周期就需要上万元,多的甚至需要十几万,这对于普通家庭来说是难以承受的。并且在2022年以前试管婴儿的费用并不在医保的报销范围内,所以都是需要患者自己自费的,这就导致不少不孕家庭望而却步。
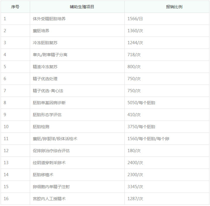
但是在2022年2月21日,北京医保局宣布将辅助生殖的部分费用纳入了医保报销范围内,并且从3月26日之后正式开始实施,这也就意味着有北京医疗保险的患者在定点医院进行试管治疗期产生的部分费用是可以进行报销的,下面就为大家详细介绍一下北京哪些辅助生殖项目可以进行报销。
以上就是北京能够报销的辅助生殖项目,而且大多数的项目都是甲类报销,因此报销的比例都是比较高的,每个周期医保平均能够为患者减轻至少8000-10000元的经济负担,有相关需求的患者可以选择北京定点的医院接受治疗。
北京试管婴儿报销条件
我们都知道,北京已经将试管婴儿的费用纳入了医保报销范围内,但是需要知道的是,并不是所有的人去北京做试管婴儿费用都能够得到报销的,医保的报销是有一定条件的。目前来说的话,只有北京本地购买了医疗保险的患者才能够享受费用的报销,具体如下:
1、参保人员需要到基本医疗保险的定点医疗机构接受试管婴儿治疗,或者是到定点医院用处方购买药物,其费用才能够得到报销;
2、在就医的过程中所发生的医疗费用要符合基本医疗保险保险药品目录、诊疗项目、医疗服务设施标准的范围和给付标准。
总而言之,虽然目前北京做试管婴儿的费用已经能够得到部分的报销了,但是外地的患者是无法享受到该项政策的福利待遇的,是需要本地的购买了相关医疗保险的患者才能够享受,具体的建议大家电话或者现场咨询一定。



发表评论